3月20日音讯,美国专利商标局发布了一项与AR/VR相关的苹果专利,专利中指出了一种为可切换AR/VR形式的头显打造的多形式音频系统。
据了解,在VR形式中,该音频系统可切换为降噪的沉溺式音频形式。而在AR形式中,则无需降噪,用户可听到周围其他人的声响,不影响日常沟通,详细体会感可参阅骨传导智能眼镜Bose frame。此外,还从耳外切换为耳内音频输出形式,确保隐私。
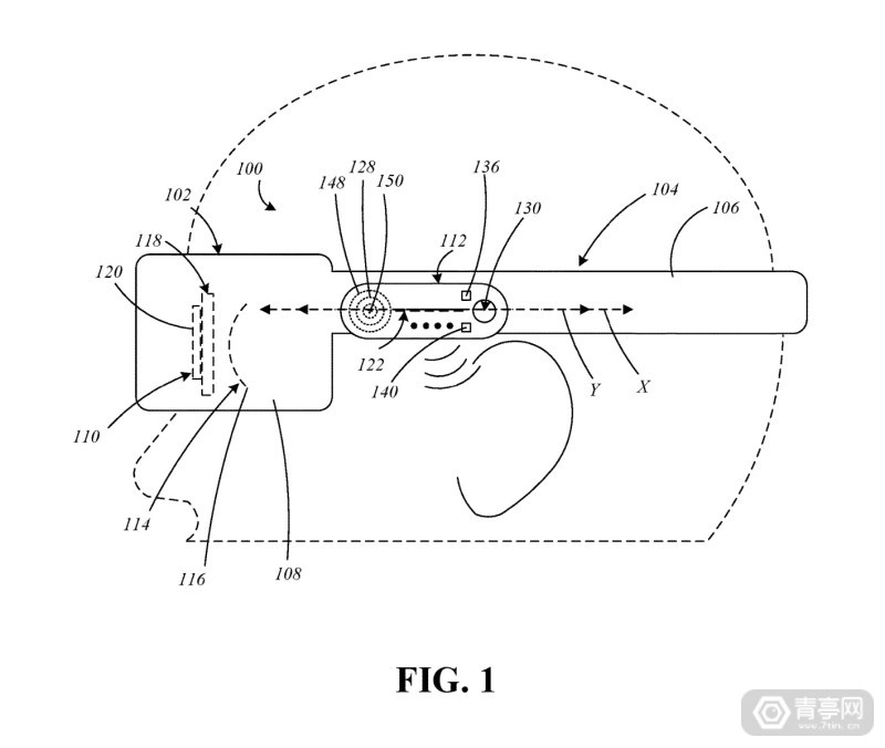
音频形式切换满足便利,用户只需要移动音频系统在头显上的方位,别的音频系统也能够针对不同需求来做拉长或缩短,也能够调配可变形泡沫等原料的耳罩,或许低声扬声器。
此外,苹果在专利中写到,用户可通过切换音频形式来改动头显的VR或AR形式。
除了本专利,美国专利商标局共发布苹果5项新XR相关专利,感兴趣的还可持续阅览下去。

高通总法律顾问卓安琳:持续创新开放合作,助力中国伙伴在5G时代取得更大成功
洞察国人睡眠健康趋势 舒福德智能床用科技赋能“新睡眠”
共享5G赋能数字化未来 与高通相约2023进博会
高通首席商务官吉姆·凯西:先进解决方案助力中国合作伙伴 携手开启智能网联汽车新时代
高通中国区董事长孟樸:与多方生态伙伴合作,共同推动中国工业互联网发展
外媒推特员工对公司提出集体诉讼指责后者未提前通知就裁员违法